Popis
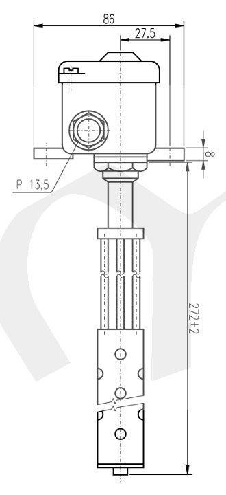
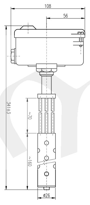
Teplotně citlivý element je stonek termostatu, tvořený dilatující trubkou z antikorozní žáruvzdorné oceli. Teplotní dilatace trubky se přenáší invarovou tyčí přes pákový převod na spínací mechanismus, který je uzavřen v hlavici. Regulační knoflík k nastavení teploty je rovněž uzavřen v hlavici a lze jej zaaretovat, aby vlivem otřesů nedošlo k přestavení vypínací teploty. Pro připevnění termostatu slouží 2 patky s otvory pro šrouby. Při montáži nesmí být stonek mechanicky namáhán a musíbýt uložen tak, aby mohl dobře dilatovat. Termostat může být umístěn v libovolné poloze. Termostat je opatřen kabelovou ucpávkou P 13,5.
Invarové tyče mezi aktivní částí stonku a hlavicí zamezují nadměrnému oteplení hlavice.
Technické údaje
|
Regulační rozsah |
200 °C až 400 °C |
|
Diference spínací teploty |
5-20 K |
|
Přesnost nastavení |
±10 % z nejvyšší hodnoty jmenovité vypínací teploty |
|
Délka stonku |
160 mm + 110 mm tepelně izolační část |
|
Jmenovité napětí, proud |
120 V , 0,5 A ss (TH-260) |
|
Dovolená teplota hlavice |
120 °C |
|
Dovolená teplota stonku |
500 °C |
|
Hmotnost |
cca 0,85 kg |
|
Krytí |
IP 44 |
|
Odolnost vnějším vlivů |
hlavice odolná vlivům třídy AB7, AE3, AM1, AN1, BE1 |
|
Životnost |
10 000 cyklů |
